咨询热线0311-66109895
Kaiyun App下载 全站Kaiyun App下载 全站黄页88网提供最新节能球磨机设备相关工程机械价格/信息、公司/厂家/机构,在这里您可以免费查看和发布节能球磨机设备相关价格、公司、厂家和机...
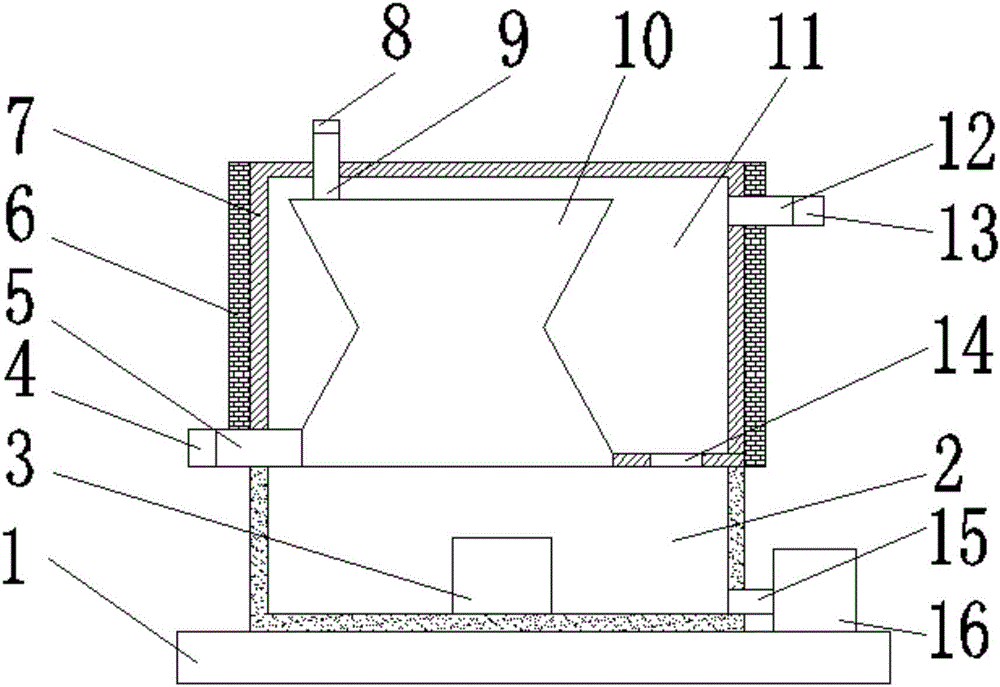
【专利摘要】本实用新型公开了一种高效节能锅炉,包括燃烧室和底座,所述燃烧室固定连接在底座上部,所述燃烧室底部设有燃料进料口,所述燃烧室右侧底部设有进气管,所述进气管右侧设有风机,所述燃烧室顶部设有壳...
钾长石、重晶石、煤泥、碳化钨、石英砂、铜矿、硫酸渣、重晶石、熟料、矿渣、铝矾土、陶粒砂、钨矿、粉煤灰、方解石、银粉、河沙、铁矿石、煤灰等 应用范围:广泛应用于新型建筑材料、耐火材料、化肥、黑色与有...
开云体育 开云官网开云体育 开云官网开云体育 开云官网产品特点:高效、节能、无污染(燃气、燃油锅炉,燃烧完全,气体排放达到国家环保标准)热交换效率高(98%),升温速度快,保温性能好,蓄热方式运行能...
开云 开云体育平台开云 开云体育平台高效节能园锥球磨机节能球磨机的生产厂家,我厂生产的球磨机质优价廉,球磨机主要用于选矿、陶瓷、化工、水泥玻璃耐火材料等行业。球磨机分为干、湿两种,干式用于耐火材料,...