开云(Kaiyun)

Kaiyun 开云体育2021年全国特种设备从业人员(压力容器R1证)信息查询系统平台 | 开云APP(Kaiyun)
欢迎访问石家庄开云有限公司官网!
0311-66109895
13859746370
公司动态
您的位置: 首页 > 新闻动态 > 公司动态
.

新闻动态

联系我们

开云(Kaiyun)

地址:河北省石家庄经济技术开发区三峡路北塔元庄村西
手机:13859746370

咨询热线0311-66109895

Kaiyun 开云体育2021年全国特种设备从业人员(压力容器R1证)信息查询系统平台

发布时间:2023-08-30 07:42:19人气:

  开云 开云体育官网开云 开云体育官网开云 开云体育官网3、有与申请特种设备作业种类相适应的文化程度;具体条件应当按照相关安全技术规范的规定执行。

  申 请《特种设备作业人员证》的人员,应当首先向特种设备作业人员报名参加考试,并经考试合格颁发特种设备作业人员证书。目前特种设备作业人员证(质 监局特种作业人员证)的报考条件可根据个人具体情况进行适当放宽,而不完全依照以上的规定的报考条件,如需要考特种设备作业人员证书建议请电话咨询。

  特种设备作业人员报名随报随学,考试每月一期,考试后15日左右取证。公司或企事业单位团体报名,培训考试可以灵活安排,具体事宜请电话咨询: 张老师 。

  经培训考核合格人员,可取得国家质量技术监督局颁发的相应上岗操作证书,全国各地可复审,每四年复审一次,全国通用,在中国特种设备从业人员数据库及公示系统(及相关市质检局网站查询证书。

Kaiyun 开云体育2021年全国特种设备从业人员(压力容器R1证)信息查询系统平台(图1)

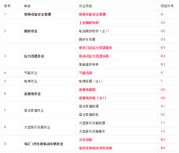
  锅炉、压力容器、压力管道、电梯、起重机械、客运索道、大型游乐设施、场(厂)内专用机动车辆的作业人员及其相关管理人员称为特种设备作业人员。

  从事特种设备作业的人员必须经过培训考核合格取得《特种设备作业人员证》,方可从事相应的作业,各种特种设备作业人员证都要复审,复审年限各地区有所不同,正常是4年复审一次。

Kaiyun 开云体育2021年全国特种设备从业人员(压力容器R1证)信息查询系统平台(图2)

Kaiyun 开云体育2021年全国特种设备从业人员(压力容器R1证)信息查询系统平台(图3)

  注1:资格认定范围为300MW以下(不含300MW)的电站锅炉司炉人员,300MW电站锅炉司炉人员由使用单位按照电力行业规范自行进行技能培训。

  注3:可根据报考人员的申请需求进行范围限制,具体明确限制为:桥式起重机司机、门式起重机司机、塔式起重机司机、门座式起重机司机、缆索式起重机司机、流动式起重机司机、升降机司机。如“起重机司机(限桥门式起重机)”等。

  注4:特种设备焊接作业人员代号按照《特种设备焊接操作人员考核规则》的规定执行。

  锅炉、压力容器、电梯、起重机械、客运索道、场(厂)内专用机动车辆的管理人员统称为特种设备安全管理人员,代号:A。证书全国通用,国网查询。4年一复审,由昆明市市场监督管理局颁发。

Kaiyun 开云体育2021年全国特种设备从业人员(压力容器R1证)信息查询系统平台(图4)

  叉车证也叫特种设备作业人员证(代号:N1),证书全国通用,国网查询。4年一复审。由市场监督管理局颁发,类似于汽车驾驶执照,上岗必备。

Kaiyun 开云体育2021年全国特种设备从业人员(压力容器R1证)信息查询系统平台(图5)

  起重证也叫行车证、天车证(代号:Q2),证书全国通用,国网查询。4年一复审。由市场监督管理局颁发,类似于汽车驾驶执照,上岗必备。

Kaiyun 开云体育2021年全国特种设备从业人员(压力容器R1证)信息查询系统平台(图6)

  锅炉证(代号:G1\G2\G3),证书全国通用,国网查询。4年一复审。由市场监督管理局颁发,类似于汽车驾驶执照,上岗必备。

Kaiyun 开云体育2021年全国特种设备从业人员(压力容器R1证)信息查询系统平台(图7)

  压力容器证(代号:R1\R1\R3),证书全国通用,国网查询。4年一复审。由市场监督管理局颁发,类似于汽车驾驶执照,上岗必备。

Kaiyun 开云体育2021年全国特种设备从业人员(压力容器R1证)信息查询系统平台(图8)

  特种设备焊接操作证(小绿本),开云体育 kaiyun.com 官网入口发证单位:质量技术监督局(质监局),每4年一审。

  根据《特种设备作业人员资格认定分类与项目》,“特种设备焊接作业”种类的作业项目分“金属焊接操作”、“非金属焊接操作”。从事下列焊缝焊接工作的焊工,应当按照《特种设备焊接操作人员考核细则》考核合格,持有《特种设备作业人员证》:(一)承压类设备的受压元件焊缝、与受压元件相焊的焊缝、受压元件母材表面堆焊;(二)机电类设备的主要受力结构(部)件焊缝、与主要受力结构(部)件相焊的焊缝;(三)熔入前两项焊缝内的定位焊缝。纳入《特种设备目录》监管的各类别品种锅炉、压力容器(含气瓶)、压力管道统称为承压类设备;纳入《特种设备目录》监管的各类别品种电梯、起重机械、客运索道、大型游乐设施、场(厂)内专用机动车辆统称为机电类设备。所以从事以上这些大型设备机器,以及精密仪器的焊工师傅们就需要考到特种设备金属焊接了。

  特种设备金属焊接首先我们要了解他的焊接方法,其实大家可以这样来理解,按照物质材料不一样结构不一样我们所要选用的焊条、焊接手法、焊接位置都会做出相应的处理方式,例如:本来天然气管道的材质是碳钢,结果你用焊铁、焊铝的方法去处理,那能焊的牢固吗?所以根据不同的情况我们所考取的证书也就是有讲究的,都是以焊接方法、物质材料、焊接位置为基本原则来考取的。

  明白了焊接方法、物质材料,我们还要掌握最重要的一点就是焊接位置;就好比天气管道都是圆的,管径大小一致,我们一般要做的就是把两个管口如何焊接好,这个就是管材对接焊接,又比如压力容器也是管道,但是我们焊接的就会接触到钢板,那么又将如何将他们焊接起来,这个就是管板角焊接。

  在这里张老师告诉大家,不同位置所选择的焊接手法又不一样,就好比:我选择了板与板这个位置,但是没有选择焊接手法也是不行的,焊接手法就好比平焊、横焊、立焊等等,开云体育 kaiyun.com 官网入口所以不同位置用到的焊接手法都是不一样,都需要通过证书体现出来。因为特种设备金属焊接证书与安监局焊工证不一样,特种设备金属焊接证书你选择考了什么材料就只能焊什么材料,你选择考了什么位置就只能焊什么位置。但是如果大家想要焊其他的材料可以吗?这个也是可以前提就是需要我们重新报考另外想要焊接的材料、位置、焊接手法就好了,就好比下面这张证书图片,他自己就考了三种。

  身份证复印件2份、毕业证复印件2份、照片白底2寸6张、体检表一份、特种设备作业人员申请表一份。

  打印附件中(表一)《特种设备作业人员资格申请表》填写并加盖公章,所有内容全部填写,其中“申请作业项目”和“申请项目代号”按照附件中(表三)特种设备作业人员资格认定分类与项目对应填写。

  扫描或拍照盖印后的申请表(1MB以内)、本人正面免冠白底彩色照片(2MB以内)、身份证(1MB以内)、体检表或健康证(1MB以内),。

  因身份证或健康证明需要采集两页,但系统仅允许上传一张图片,此处介绍使用电脑自带画图软件进行图片拼接

  第三步、点选顶部“粘贴“,选择粘贴来源,依次选择已拍证书图像,并进行调整保存。

  第四步、默认勾选“保持纵横比”,选择像素为“水平400”,垂直可不选,后确定。

  第三步、选择,选择报名类型为“新考证”;输入身份证号码,选择“立即报名”;

  第四步、填写网页弹出的申请表(表格内容必须全部填写),输入验证码,保存并上报。





推荐资讯